Magához ölel a Toyota innovatív légzsákja

Magához ölel a Toyota innovatív légzsákja

Innováció  |  2023 április 5.
Egy modern autóban akár fél tucatnyi légzsák óvja a sérüléstől a vezetőt. A Toyota most egy további, innovatív konfigurációt mutatott be, amely vadonatúj védelmi funkciókkal bír, és bár kifejezetten nem ezzel a céllal tervezték, akár a többi légzsák kiváltására is alkalmas lehet.

Elülső légzsák, oldallégzsák és függönylégzsák: hosszú éveken át ez a trió jelentette az ütközés elleni passzív védelem csúcsát. Aztán jött a vezető oldali térdlégzsák, a két első ülés közötti, összefejelést gátló légzsák, valamint legújabban az ülőlapba épített, alábukást megakadályozni hivatott légzsák. Ezeket a rendszereket eltérő ütemezésben vezetik be az autógyártók, a Toyota szerint azonban még ezzel sem teljes a védelmi arzenál. Az autógyártó mérnökei kifejlesztettek egy különleges szerkezetet, amely olyan speciális szituációkban is védelmet tud nyújtani, amelynek előfordulása néhány évvel ezelőtt még fel sem merült.

Ahhoz, hogy egy légzsák optimálisan fejtse ki a hatását, aktiválása pillanatában a megfelelő pozícióban kell lennie a védeni kívánt testrésznek – ebben az esetben a fejnek. Ez a hagyományos gépkocsikban nem probléma, hiszen a kormánykerék és a vezető egymáshoz viszonyított helyzete adott. A közeljövőben azonban, az önvezető technológia fejlődésével és elterjedésével már egyáltalán nem lesz magától értetődő, hogy a vezető a jelenleg megszokott testhelyzetben foglal helyet ülésében.

A helyzetet tovább bonyolítják azok az elképzelések, amelyek autonóm üzemmódban elmozdítanák a helyéről a kormánykereket, hogy szabad mozgásteret biztosítsanak a vezetőnek. Ebben az esetben is gondoskodni kell ugyanis az utasok maximális védelméről.

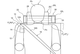
A Toyota innovatív, fejtámaszba integrált rendszere ideális megoldást jelenthet erre. A fejtámla fejhez viszonyított helyzete viszonylag állandó, így az ebből előugró légzsák kiemelkedően magas százalékban biztosíthat optimális védelmet. Apró probléma persze, hogy a fejtámasz a védeni kívánt testrész mögött található. A Toyota mérnökei ezért egy több fázisban felfúvódó légzsákot dolgoztak ki, amely horog vagy bumeráng formájában öleli körül a fejet, a nyakat és a vállakat. Az első fázisban a légzsák előrefelé tágul, majd az előre meghatározott pillanatban kinyílik egy szelep, amin keresztül a gáz tovább áramlik a második, hátrafelé mutató szegmensbe. Ezzel párhuzamosan a két elem között és fölött egy harmadik párna is felfúvódik, amely felülről óvja a fejet. A szegmenseket szövethevederek kötik össze, megakadályozva túlnyúlásukat.

A légzsák elsősorban átlósan elölről és oldalról érkező ütések ellen nyújt hatékony védelmet, de tulajdonképpen arra is alkalmas lehet (bár a Toyota kezdetben deklaráltan nem erre szánja), hogy a frontális, függöny és oldallégzsákokat egyszerre kiváltsa.

A konstrukció kétségtelen hátránya, hogy nyitása több időt vesz igénybe a hagyományos, egyfázisú légzsákoknál. Emiatt minden eddiginél gyorsabban kell reagálnia az ütközést érzékelő szenzorok jeleire – sőt, a Toyota mérnökei még ennél is messzebb mentek: a cég fejlett ütközési előrejelző technológiáit felhasználva olyan vezérlést fejlesztettek a légzsákhoz, amely már a balesetet megelőző századmásodpercekben – azaz amikor a baleset már semmiképpen nem elkerülhető – képes elindítani a légzsák nyitását.

A Toyota nem jelölte ki az innovatív technológia piaci bevezetésének idejét – voltaképpen még az sem kizárt, hogy a rendszer soha nem lép túl a koncepció fázisán. Ha viszont bevezetik, első körben a cégcsoport felső kategóriás típusain: a vadonatúj Toyota Crown modellcsaládban, a Lexus LS luxuslimuzinban, esetleg a Toyota Land Cruiser/Lexus LX terepjárókban jelenhet meg a vezetőt magához ölelő légzsák.

 

Fotók: CarBuzz, Image-ppubs.uspto.gov